File:Fichet 787 patent.jpg
Fichet_787_patent.jpg (539 × 356 pixels, file size: 54 KB, MIME type: image/jpeg)
| Description |
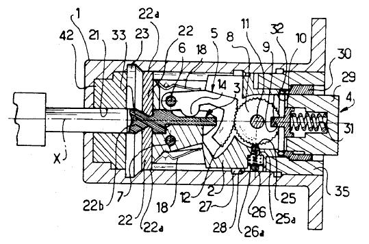
Workings of the Fichet 787, from US Patent #4,801,184. |
|---|---|
| Source | |
| Date |
19 April 2010 |
| Author |
n/a |
| Permission (Reusing this image) |
See below. |
|
|
In general, the contents of United States patents are in the public domain.[1] In specific cases, patent applicants and holders may claim copyright in portions of those documents. In those specific cases, applicants are required to identify the portions that are protected under copyright, and are additionally required to state the following within the body of the application and patent:[2] [3] The original patent should be checked for the presence of such language before an assumption is made that the contents are in the public domain. This template can be replaced by {{PD-US-patent-no notice}} in such cases. |
File history
Click on a date/time to view the file as it appeared at that time.
| Date/Time | Thumbnail | Dimensions | User | Comment | |
|---|---|---|---|---|---|
| current | 17:14, 19 April 2010 | 539 × 356 (54 KB) | Datagram (talk | contribs) | {{Information |Description = Workings of the Fichet 787, from US Patent #4,801,184. |Author = n/a |Date = 19 April 2010 |Source=http://www.google.com/patents }} {{PD-US-patent}} |
You cannot overwrite this file.
File usage
The following page uses this file:
